产品概述
在移动智能设备追求极致性能与轻薄设计的今天,高速存储接口的稳定性和集成度至关重要。力芯微推出的ET4857,是一款完全符合SD 3.0标准的高集成度、双向自动方向控制电平转换器。它不仅是连接主机处理器与存储卡的桥梁,更是一站式的信号完整性、电源管理和系统保护专家,助力您的产品在竞争中脱颖而出。
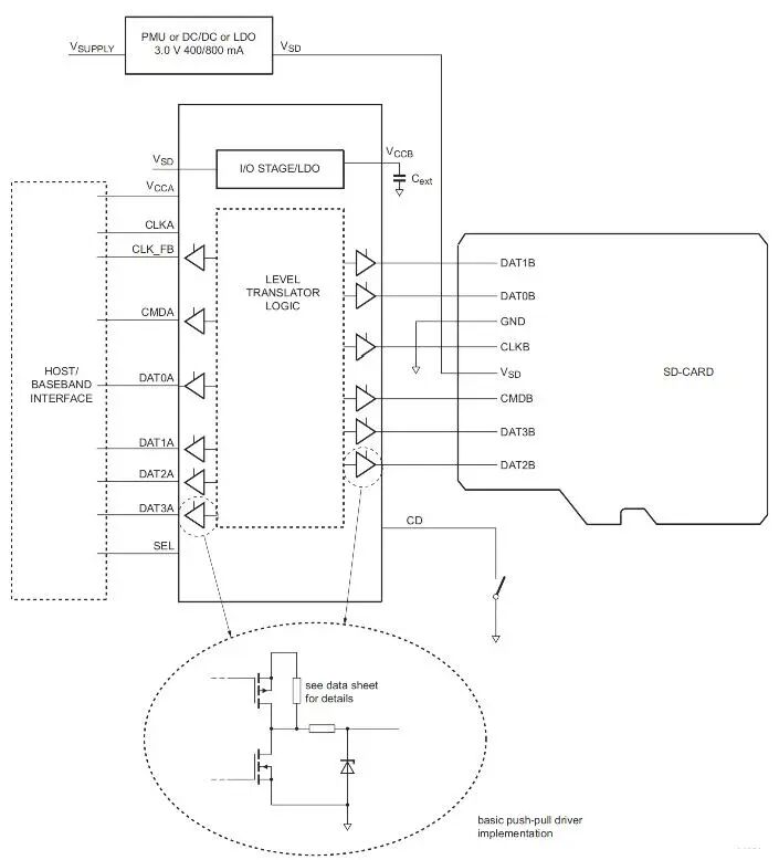
其核心价值在于解决现代移动设备中低电压主机(1.2V-1.8V)与标准电压存储卡(1.8V/3.0V)之间的通信障碍。且集成了电平转换器、LDO、EMI滤波器和高强度ESD保护于一体,是嵌入式存储接口的“全能卫士”。与NVT4857完全兼容。
产品特性
支持高达 208MHz 的时钟频率
符合 SD3.0 规范的电压转换,以支持 SDR104、SDR50、DDR50、SDR25、SDR12、高速模式和默认速度模式
支持 1.2V 至 1.8V 的主机侧接口电压
用于时钟同步的反馈通道
支持100mA 负载的LDO为卡侧的 I/O 提供电源
采用“先断后接”架构的推挽式输出级实现了低功耗
通过 VSD 实现自动启用和禁用
内部集成上拉和下拉电阻:无需外部电阻
集成式电磁干扰滤波器可抑制数字输入/输出的高次谐波。
在卡侧集成 8kV 的 ESD 保护,符合 IEC 61000-4-2 标准
电平转换缓冲器能够将静电放电应力隔离在主机之外(采用零钳位原理)
管脚定义

典型应用

新品预发布
为了满足更小封装,更低工作电压范围和SD卡超频应用,力芯微即将推出300MHZ时钟频率的SD3.0电平转换ET4860,性能领先友商产品NXS0506/NVT4858,敬请期待。
管脚定义

Online messageinquiry
| model | brand | Quote |
|---|---|---|
| TL431ACLPR | Texas Instruments | |
| RB751G-40T2R | ROHM Semiconductor | |
| MC33074DR2G | onsemi | |
| CDZVT2R20B | ROHM Semiconductor | |
| BD71847AMWV-E2 | ROHM Semiconductor |
| model | brand | To snap up |
|---|---|---|
| ESR03EZPJ151 | ROHM Semiconductor | |
| STM32F429IGT6 | STMicroelectronics | |
| BU33JA2MNVX-CTL | ROHM Semiconductor | |
| TPS63050YFFR | Texas Instruments | |
| IPZ40N04S5L4R8ATMA1 | Infineon Technologies | |
| BP3621 | ROHM Semiconductor |
Qr code of ameya360 official account
Identify TWO-DIMENSIONAL code, you can pay attention to
Please enter the verification code in the image below: